Sanchuan U540 Ultrasonic Water Meter
U540 is a high-precision smart water meter combining ultrasonic measurement with NB-IoT/LoRaWAN connectivity, certified to MID, OIML R49, and WRAS for seamless global deployment and real-time monitoring.
U540 is a high-precision smart water meter combining ultrasonic measurement with NB-IoT/LoRaWAN connectivity, certified to MID, OIML R49, and WRAS for seamless global deployment and real-time monitoring.
Sanchuan Ultrasonic Water Meter is a static solution designed for direct drinking and potable water applications in residential and commercial buildings. With self-developed hardware and software, it ensures high accuracy and long-term reliability without any mechanical components. Its ultrasonic technology and piezoelectric ceramic transducers provide clog-free, wear-resistant performance, even under low flow or sediment conditions. Certified to MID, OIML R49, and WRAS, it meets international potable water standards. The meter supports NB-IoT and LoRaWAN communication for secure, remote data transmission—ideal for smart water networks. Sanchuan's proprietary design delivers a competitive, scalable solution for intelligent water management.
DN 15 to 25, dynamic range optional for R200/250/315/400.
IP 68 suitable for outdoor installations.
Remote meter reading via NB-IoT.
Display with error and alarm codes including leakage detection.
Battery lifetime up to 10 years.
U0 / D0, easy to install.
| U540 ULTRASONIC WATER METER | |||
| Medium temperature range | °C | 0.1 ~ +50 | |
| Ambient operating temperature | °C | -5 ~ +55 | |
| Ambient humidity | RH | 0 ~ 100 (at temperature 40 °C) | |
| Environmental class | O (Outdoors) | ||
| Meter body material | SS316L | ||
| Nominal pressure | MAP | bar | 10/16 optional |
| Power supply | 3.6V DC lithium batteries | ||
| Battery lifetime* | up to 10 years | ||
| Communication Module | NB-IoT | ||
| Data storage | For errors, alarms and measuring values, data logging capabilities: each 5 min flow data 21 days, daily data 120 days, monthly data 10 years, 50 recent error datas, 2000 event datas. | ||
| Protection class | IP68 | ||
| * Depends on local signal strength, configured online frequency each day and the ambient temperature at the installation. | |||
| Nominal Diameter | DN | mm | 15 | 15 | 20 | 20 | 25 | 25 |
| Type | LXCY-15K | LXCY-20K | LXCY-25K | |||||
| Permanent flow rate | Q3 | m³/h | 2.5 | 2.5 | 4.0 | 4.0 | 6.3 | 6.3 |
| Minimum flow rate | Q1 | L/h | 6.25 | 10 | 10 | 16 | 15.75 | 25.2 |
| Dynamic (Q3/Q1) | R | 400 | 250 | 400 | 250 | 400 | 250 | |
| Overload flow rate | Q4 | m³/h | 3.125 | 3.125 | 5 | 5 | 7.875 | 7.875 |
| Transitional flow rate | Q2 | L/h | 10 | 16 | 16 | 25.6 | 25.2 | 40.32 |
| Starting flow rate | L/h | 2 | 2 | 3 | 3 | 5 | 5 | |
| Max. Pressure Loss | bar | 0.4 | 0.4 | 0.4 | 0.4 | 0.4 | 0.4 | |


| Nominal Diameter | DN | mm | 15 | 15 | 20 | 20 | 25 | 25 |
| Type | LXCY-15K | LXCY-20K | LXCY-25K | |||||
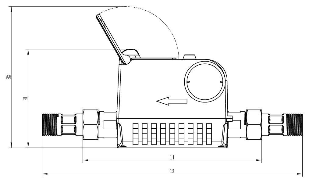
| Overall length | L1 | mm | 165 | 165 | 190 | 190 | 260 | 260 |
| Overall length with coupling | L2 | mm | 255 | 255 | 290 | 290 | 376 | 376 |
| Height | H1 | mm | 98 | 98 | 98 | 98 | 98 | 98 |
| Height | H2 | mm | 138 | 138 | 138 | 138 | 138 | 138 |
| Width | B | mm | 88 | 88 | 88 | 88 | 88 | 88 |
| Connection thread on meter | Inch | G ¾ | G ¾ | G 1 | G 1 | G 1¼ | G 1¼ | |
| Connection thread of coupling | Inch | R ½ | R ½ | R ¾ | R ¾ | R 1 | R 1 | |